| EXERCICIS |   | 
               
                | Per 
                  Jordi Jordan i Gerard Talavera | 
               
                |  |  | 
               
                | 1. 
                    Què és la pneumàtica? |  | 
               
                | 2. 
                    Quines són les propietats del fluid pneumàtic? |  | 
               
                | 3. 
                    Quines aplicacions té la pneumàtica a la construcció? 
                    I en el transport? |  | 
               
                | 4. 
                    L’aire és una mescla de gasos. Quin són 
                    els seus components? Quin d’ells és el principal? |  | 
               
                | 5. 
                    Què anomenem aire comprimit? |  | 
               
                | 6. 
                    Què anomenem pressió atmosfèrica? |  | 
               
                | 7. 
                    La unitat de pressió del sistema internacional és 
                    el Pascal (Pa). Quants Pa són un bar? I una atmosfera? |  | 
               
                | 8. 
                    A quina pressió relativa s’utilitza l’aire 
                    comprimit als processos industrials? |  | 
               
                | 9. 
                    Quina és la Tª ideal de l’aire per garantir 
                    un bon funcionament dels mecanismes pneumàtics? |  | 
               
                | 10. 
                    Quines són les parts fonamentals d’uns sistema 
                    bàsic de pneumàtica? |  | 
               
                | 
                     
                      | Producció | Acumulador | Adequació 
                        de l’Aire | Control | Aplicació |   
                      |  |  |  |  |  |  |  | 
               
                | 11. 
                    Quins tipus de compressors hi ha al mercat?  |  | 
               
                | 12. 
                    Per què es refrigera l’aire? |  | 
               
                | 13. 
                    Quina és la diferencia entre un refrigerador aire-aire 
                    i altre d’aire-aigua? |  | 
               
                | 14. 
                    Quina funció té el filtre? |  | 
               
                | 15. 
                    Si sabem que l’aire no s’hauria de lubricar. Per 
                    què ho fem?  |  | 
               
                | 16. 
                    Quina és la missió d’un dipòsit 
                    d’aire comprimit? |  | 
               
                | 17. 
                    Quins elements de seguretat i control han de disposar tots 
                    els dipòsits? |  | 
               
                | 18. 
                    Què és una vàlvula reguladora de pressió? 
                    Representa-la? |  | 
               
                | 19. 
                    Quina és la missió del Purgador? On sol instal·lar-se? |  | 
               
                | 20. 
                    Les canonades ens serviran per distribuir l’aire comprimit. 
                    En funció de què s’han de calcular? |  | 
               
                | 21. 
                    Què és una connexió ràpida? Per 
                    què s’empren? |  | 
               
                | 22. 
                    Quina és la missió d’un silenciador? |  | 
               
                | 23. 
                    Omple la següent taula de característiques emprat 
                    les respostes proposades. |  | 
               
                | 
                     
                      | Característica | Pneumàtica | Oleohidraùlica | Propostes |   
                      | Força 
                        accionament |  |  | Petita/Elevada |   
                      | Resposta 
                        d’actuació |  |  | Lenta/Ràpida |   
                      | Control 
                        posicionament |  |  | Fàcil/Difícil |   
                      | Regulació 
                        velocitat |  |  | Inadequat/Adequat |   
                      | Pressió 
                        alimentació |  |  | Alta/Baixa |   
                      | Massa 
                        del fluid |  |  | Pesant/LLeuger |   
                      | Nivell 
                        soroll |  |  | Alt/Baix |   
                      | Fuites |  |  | Contaminació/Pèrdua 
                        d’energia |   
                      | Control 
                        dels actuadors |  |  | Tot-Res/Modulable |  |  | 
               
                | 24. 
                    Una vàlvula ve determinada per?  |  | 
               
                | 25. 
                    Quina Norma ens indica la manera de representar els components 
                    d’un circuit pneumàtic? |  | 
               
                | 26. 
                    Com es representen les posicions de les vàlvules? |  | 
               
                | 27. 
                    La unió de dos conductes es representa per? |  | 
               
                | 28. 
                    En una vàlvula 5/3, el tres ens indica? |  | 
               
                | 29. 
                    Les vàlvules anomenades “O” són? |  | 
               
                | 30. 
                    Les vàlvules anomenades “I” són?
 |  | 
               
                | 31. 
                    Quina és la funció d’una vàlvula 
                    antiretorn? |  | 
               
                | 32. 
                    Quina transformació energètica fan els actuadors? 
                     |  | 
               
                | 33. 
                    La força desenvolupada per un actuador ve determinada 
                    per? |  | 
               
                | 34. 
                    Càlcula la força que exerceix la tija del cilindre, 
                    si aquest té un diàmetre interior de 80 mm, 
                    la tija té un diàmetre de 30 mm i una llargària 
                    de 10 cm i se’l sotmet a una pressió de 600 kPa. 
                    
 |  | 
               
                | 35. 
                    Calculeu la força teòrica que és capaç 
                    d’efectuar un cilindre en el sentit de sortida i d’entrada 
                    de la tija. Dades:Diàmetre interior: 80 mm
 Diàmetre de la tja: 20 mm
 Pressió del circuit:6 bar
 
 |  | 
               
                | 36. 
                    Determineu el consum d’aire comprimit que gasta un cilindre 
                    que efectua 12 cicles d’avanç i retrocés 
                    cada minut. Dades:Diàmetre interior: 200 mm
 Diàmetre de la tija: 20 mm
 Pressió del circuit d’alimentació: 8 bar, 
                    temperatura constant 20 º©
 Cursa: 800 mm
 |  | 
               
                | 37. 
                    Determina el diàmetre d’un cilindre capaç 
                    de realitzar un esforç teòric en el moviment 
                    d’avanç de 140 kp a una pressió de 6 bars. 
                    Quina força realitzarà en el moviment de retrocés 
                    si la tija té un diàmetre de 15 mm? |  | 
               
                | 38. 
                    Què farem per obtenir una vàlvula 3/2 a partir 
                    d’una 5/2? |  | 
               
                | 39. 
                    Dissenyeu un circuit que elevi una caixa de cartró 
                    cada cop que l’operari accioni un polsador. La caixa 
                    retornarà a la seva posició inicial un cop l’operari 
                    deixi de polsar.  |  | 
               
                | 40. 
                    Dissenyeu el circuit anterior pilotant el cilindre pneumàticament. |  | 
               
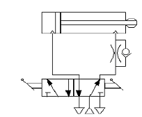
                | 41. 
                    Què passarà en el següent circuit? |  |  | 
               
                | 42. 
                    Dissenyeu un circuit en el que l’operari estampi una 
                    peça emprant un cilindre de doble efecte. El cilindre 
                    no retornarà a la posició inicial fins que l’operari 
                    no desactuí el comandament.
 |  | 
               
                | 43. 
                    Dissenyeu un circuit en el que l’operari estampi una 
                    peça emprant un cilindre de doble efecte. L’avanç 
                    es produirà encara que l’operari deixi d’actuar 
                    el polsador. El cilindre no retornarà a la posició 
                    inicial fins que l’operari no actuí sobre un 
                    segon polsador. |  | 
               
                | 44. 
                    Què passarà en el següent circuit? |  |  | 
               
                |  |  | 
               
                | 45. 
                    Com regularien la velocitat en tots dos sentits?
 |  | 
               
                | 46. 
                    Un fabricant necessita accionar un cilindre de simple efecte 
                    de manera manual o automàtica segons l’instant. 
                    L’accionament manual haurà de fer-se a traves 
                    d’un distribuïdor manual i l’automàtic 
                    a partir d’una electrovàlvula. |  | 
               
                | 47. 
                    Per raons de seguretat cal mantenir ocupades les dues mans 
                    d’un operari a l’hora d’accionar un cilindre 
                    de doble efecte. Com ho podriem fer? |  | 
               
                | 48. 
                    Realitzeu el circuit anterior sense fer servir la vàlvula 
                    “I”. |  | 
               
                | 49. 
                    En un sol cicle de treball i amb un sol comandament hem de 
                    posar el tap a una ampolla a l’hora que l’etiquetem. 
                    Com ho faríem amb un cilindre de simple efecte i l’altre 
                    de doble efecte? |  | 
               
                | 50. 
                    Com ho faríem si tots dos cilindres fossin de doble 
                    efecte? |  | 
               
                | 51. 
                    Quan connecten un interruptor un cilindre sense tija actuarà 
                    de manera cíclica fins que el desactivem. |  | 
               
                | 52. 
                    Un cilindre de doble efecte empeny ampolles permetent que 
                    s’omplin mitjançant una temporització. 
                    El conjunt es governarà gràcies a un interruptor. |  | 
               
                | 53. 
                    Quan connecten un interruptor un cilindre de doble efecte 
                    s’actuarà de manera cíclica fins que el 
                    desactivem. El control s’efectuarà des d’una 
                    vàlvula de simple bobina. |  |