
|
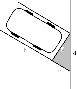
- Aquí tens un cotxe aparcat. Calcula les àrees dels triangles ombrejats. Quin espai es perd? Com depèn de l'angle d'inclinació?

- Aquí tens una bona gràfica de y=sin x. Superposa-hi la gràfica de la diagonal y=x. Què passa per a valors petits de x? Quan és sin x < x i quan sin x > x?
- Hem canviat l'escala de l'eix de les y posant la mateixa unitat que a l'eix de les x. Refés la gràfica de la funció sinus. Entens per què abans la presentació era diferent?
|