Material per a l'alumnat

[Crèdit 2]
 
 
 
35  Situa fraccions

 
Bon dia mates
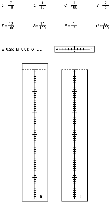
Retalla aquestes dues figures i enganxa-les de forma que coincideixin per la línia de punts per obtenir el segment [0,1].
Representa sobre el segment del 0 a l'1 els nombres següents:

Situa fraccions